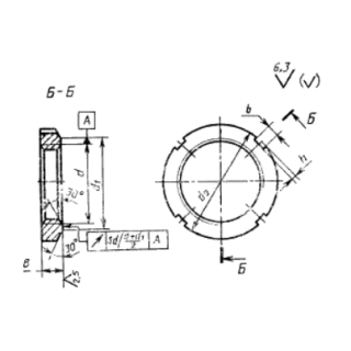
Гайки круглая шлицевая ГОСТ 8530-90. Применяются на точечных закрепительных и стяжных втулках, для крепления внутренних колец подшипников на валах.
Поле допуска резьбы: 7H, 7е.
Марка стали: 3, 20, 35, 45, 40Х, 09Г2С, 12Х13
Гайка круглая шлицевая ГОСТ 8530-90 - фото - 2

Гайка круглая шлицевая ГОСТ 8530-90

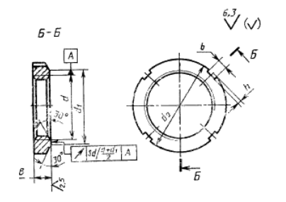
Гайки круглая шлицевая ГОСТ 8530-90. Применяются на точечных закрепительных и стяжных втулках, для крепления внутренних колец подшипников на валах.
Поле допуска резьбы: 7H, 7е.
Марка стали: 3, 20, 35, 45, 40Х, 09Г2С, 12Х13
Санкт-Петербургский Завод крепежных изделий © 2025г. Все права защищены
Адрес
СПб, г. Колпино, б-р Трудящихся, дом 2, лит. А., пом. 13-Н, офис 1
Яндекс.Метрика